Шкив 15T-3M-40AF 8mm

Количество:
Цена: 1 070 руб.
Код товара: 3142

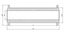
Алюминиевый анодированный зубчатый шкив.

Число зубьев n=15

Mодуль Z=3

Ширина ремня H=40 мм

Посадочный диаметр вала d=8 мм