Алюминиевое крепление поворотной оси Тип-1 (AL-25150)

Количество:
Цена: 11 000 руб.

Для крепления поворотных осей на станках используются специальные пластины, обеспечивающие надежное соединение между осью и станком, стабильность при обработке.  

Алюминиевое крепление «Тип1» подходит для алюминиевого профиля AL-25150 чертеж, которого показан на рисунке 1.

AL 25150 10 1

Рис. 1. AL-25150 Т-слот (АВД-8866)

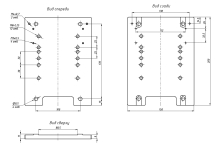
Чертежи крепления для поворотной оси и задней бабки представлены на рисунках 2 и 3.

Алюминиевое крепление Тип1 1

Рис. 2. Переходная пластина для поворотной оси

Алюминиевое крепление Тип1 2

Рис. 3. Переходная пластина для задней бабки

Крепление «Тип1» подходит для поворотных осей:

ID 5629

4я ось 4кл 100мм +бабка 17-100-100B (волновой редуктор 100:1)

ID 314

4я ось 100мм патрон 4кл. 86HS82-4504A (5M-3-100B+rear holder)