Резец MTJNR2020 K16

Количество:
Цена: 1 250 руб.
Код товара: 14785

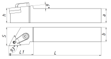
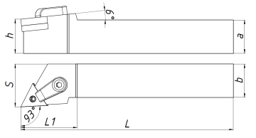
Токарная державка со сменными пластинами, предназначенная для наружного точения. Державка применяется для обработки наружных цилиндрических, конических и фасонных поверхностей, торцов и уступов.

Исполнение державки – правое с главным углом в плане 93°.

Державка совместима с пластинами TN**1604.

Технические характеристики:

Марка резца: MTJNR
Вид точения: наружное
Исполнение: правое
Система крепления: M – прижим клин-прихватом сверху
Сечение (a x b, мм): 20х20
Высота (h, мм): 20
Ширина (S, мм): 25
Общая длина (L, мм): 125
Длина (L1, мм): 28
Совместимые пластины: TN**1604
Крепежный винт: М6х25

Внимание!!! Твердосплавные пластины в комплект не входят.