DDJNL2525 М1506 резец для наружного точения (black type)

Количество:
Цена: 2 530 руб.
Код товара: 15620

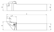
Токарная державка со сменными пластинами, предназначенная для наружного точения. Державка применяется для обработки наружных цилиндрических и конических поверхностей, торцов и уступов.

Исполнение державки – левое с главным углом в плане 93°.

Державка совместима с пластинами DN**1506.

Технические характеристики:

Марка державки: DDJNL
Вид точения: наружное
Исполнение: левое
Система крепления: D – двойной прижим кронштейном
Сечение (a x b, мм): 25х25
Высота (h, мм): 25
Ширина (S, мм): 32
Общая длина (L, мм): 150
Длина (L1, мм): 40
Совместимые пластины: DN**1506
Крепежный винт: М6х21

Внимание!!! Твердосплавные пластины в комплект не входят.